|
I – Capteur de force |
I – Capteur de force (Load cell)
|
|
Un capteur de force (ou cellule d’effort) est un dispositif utilisé pour convertir une force (par exemple un poids) appliquée sur un objet, en signal électrique. Le capteur est généralement construit en utilisant des jauges de déformation (Strain gauge) connectées en un pont approprié. Un amplificateur est normalement nécessaire pour lire le signal délivré par le transducteur. |
|
Le but des extensomètres à fils résistants ou jauges de déformation (ou, abusivement, jauges de contrainte) est de traduire la déformation d'une pièce en variation de résistance électrique (plus les extensomètres s'étirent, plus leurs résistances augmentent). Elles consistent en des spires rapprochées et sont généralement fabriquées à partir d'une mince feuille métallique (quelques µm d'épaisseur) et d'un isolant électrique, que l'on traite comme un circuit imprimé (par lithographie et par attaque à l'acide). |
|

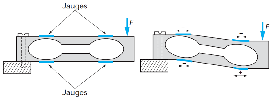
Des jauges (une, deux ou quatre) sont collées sur un support, le corps d'épreuve qui, lorsqu'il est soumis à une force, va se déformer. Les jauges de déformation vont s'allonger ou se raccourcir.
Ainsi, la force dont on cherche à connaître la valeur déforme le corps d'épreuve qui provoque l'allongement ou le rétrécissement des jauges et donc la variation de la valeur de résistance. La variation de la valeur de la résistance est donc liée à la variation de la valeur de la force appliquée.

|
Implantation de 4 jauges de contrainte sur un même corps d'épreuve. Lors de l'application d'une force, deux jauges s'étirent alors que les deux autres sont compressées. |
|
|
Créé avec HelpNDoc Personal Edition: Obtenez des résultats de documentation professionnels avec un outil de création d'aide


